Hledáte rozměry XactMeasure GD&T? Je-li tomu tak, viz:
Dialogové okno Symetrie rozměru
Položka nabídky Vložit | Rozměr | Symetrie vypočítá symetrii sady bodů s referenčním prvkem nebo dvou protilehlých čar s referenčním prvkem.
Jestliže prvním prvkem je sada, druhý zadaný prvek je referenční prvek a musí to být buď rovina nebo přímka.
Jestliže prvním prvkem je přímka, druhý zadaný prvek musí být také přímka a třetí zadaný prvek je referenční prvek. V tomto případě musí být třetí prvek rovina nebo přímka. Tento typ rozměru se považuje za jednostranný, což znamená, že se použije jediná kladná hodnota tolerance.
Pokud je třetím prvkem rovina, algoritmus symetrie se pokusí nalézt čáru na této rovině, která představuje referenční prvek. Při hledání správné přímky protne (nebo překříží) zvolenou rovinu s pracovní rovinou. Z tohoto důvodu se ubezpečte, že používáte správnou pracovní rovinu.
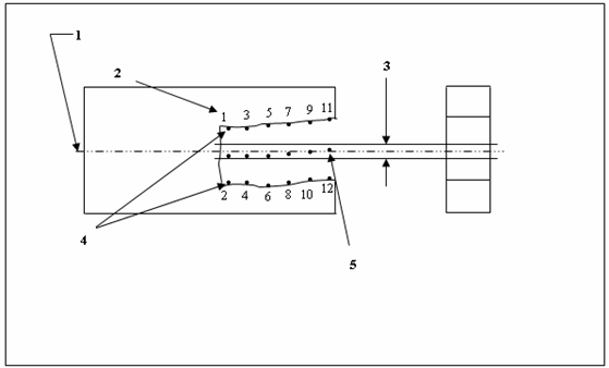
Dle normy pro geometrické kótování a tolerování následující obrázek zobrazuje to, jak je rozměr symetrie zobrazen a interpretován.

Rozměr Symetrie

Rozměr Symetrie - Interpretace
1 - Středová rovina referenčního prvku A.
2 - Pořadí měření bodů.
3 - Oblast tolerance o šířce 0,8.
4 - Protilehlé prvky se střídavými body.
5 - Odvozené body mediánu.
Vysvětlení předchozího obrázku
V rámci omezení velikosti a RFS veškeré střední body protilehlých částí štěrbiny musí ležet mezi dvěmi paralelními rovinami ve vzdálenosti 0,8 s tím, že tyto dvě roviny jsou rovnoměrně rozloženy kolem referenční roviny A. Stanovená tolerance a referenční prvek může platit pouze na základě RFS.
Z důvodů způsobu definice symetrie, PC-DMIS omezuje prvky, které lze použít pro rozměr symetrie. Vzhledem k tomu, že body musí být rovnoměrně rozloženy kolem reference aby bylo možné mezi nimi nalézt středové body, musíte buď zvolit sadu prvků se střídavými body nebo dvě protilehlé přímky se stejnými počtem prvků.
Více: