Dva režimy pro konfiguraci třemi tlačítky jsou probrány dále:
Režim Měření

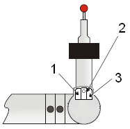
Pro výše uvedená tlačítka jsou k dispozici následující funkce režimu Měření:
1: HOTOVO - Stisknout < 1 sekundu
1: VYMAZAT poslední zásah - Držet > 1 sekundu
1: OTEVŘÍT DRO - Držet > 1 sekundu, není-li ve vyrovnávací paměti žádný zásah.
1: PŘEPNOUT DRO - Držet > 1 sekundu, je-li DRO již otevřené. XYZ <-> XYZT. Je zobrazena hodnota „T“.
2: ZASÁHNOUT BOD - Stisknout < 1 sekundu.
2: TAŽENÝ ZÁSAH - Stisknout, táhnout zpět, uvolnit do 1 sekundy. Viz. "Použití tažených dotyků pro kompenzaci sondy".
2: SKENOVAT - Stisknout, držet > 1 sekundu, táhnout.
3: PŘEPÍNAT Mezi režimy - Stisknout < 1 sekundu.
Režim myši

Pro výše uvedená tlačítka jsou k dispozici následující funkce režimu Myši:
1: PAN (projíždět) - Stisknout a držet na modelu CAD.
2: LEVÉ tlačítko myši - Používá se pro výběry obrazovky.
1+2: ZOOM OBLASTI - Stisknout a držet.
3: PŘEPÍNAT Mezi režimy - Stisknout < 1 sekundu.
3: OTÁČET - Stisknout a držet model CAD.
Volitelné metody pro přepínání mezi režimem Myši a režimem Měření
Pro přepnutí do režimu Myši: Stiskněte a držte tlačítko provádění zásahu a pak rychle stiskněte tlačítko hotovo (do jedné sekundy).
Pro přepnutí do režimu Měření: Posuňte kurzor na horní okraj obrazovky a stiskněte prostřední tlačítko (levé tlačítko myši).
K přepnutí z jakéhokoli režimu:

Otočte osu „F“ na doraz, pak
Otočte osu „E“ o 90 stupňů.