The two modes for a three-button configuration are discussed below:
Measure Mode

The following Measure Mode functions are available for the buttons indicated above:
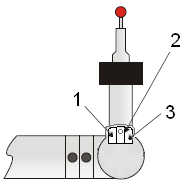
1: DONE - Press < 1 second
1: ERASE last hit - Hold > 1 second
1: OPEN DRO - Hold > 1 second when there is no hit in the buffer.
1: TOGGLE DRO - Hold > 1 second when the DRO is already open. XYZ <-> XYZT. The "T" value is displayed.
2: HIT POINT - Press < 1 second.
2: PULLED HIT - Press, pull back, release with 1 second. See "Using Pulled Hits for Probe Compensation".
2: SCAN - Press, hold > 1 second, drag.
3: TOGGLE Between Modes - Press < 1 second.
Mouse Mode

The following Mouse Mode functions are available for the buttons indicated above:
1: PAN - Press and hold the CAD model.
2: Mouse LEFT Button - Used for screen selections.
1+ 2:BOX ZOOM - Press and hold.
3: TOGGLE Between Modes - Press < 1 second.
3: ROTATE - Press and hold the CAD model.
Optional Methods for Switching Between Mouse Mode and Measure Mode
To switch to Mouse Mode: Press and hold the take hit button and then quickly press the done button (within the first second).
To switch to Measure Mode: Move the cursor to the top of the screen and press the middle button (left mouse button).
To toggle from either mode:

Turn the "F" axis to the limit, then
Turn the "E" axis 90 degrees.