Configurazione a 3 pulsanti

Le due modalità per la configurazione a tre pulsanti sono analizzate di seguito.

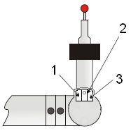
Modalità di misura

Le seguenti funzioni della modalità misura sono disponibili per i pulsanti indicati sopra:

1: FINE - Premere < 1 secondo

1: ELIMINA ultimo punto - Tenere premuto > 1 secondo

1: APRI DRO - Tenere premuto > 1 secondo quando non ci sono punti nel buffer.

1: ATTIVA/DISATTIVA DRO - Tenere premuto > 1 secondo quando la DRO è già aperto. XYZ <-> XYZT. Viene visualizzato il valore "T".

2: PUNTO - Premere < 1 secondo.

2: PUNTO FORZATO - Premere, tenere premuto, rilasciare con 1 secondo. Vedere "Uso di punti estratti per compensazione tastatore".

2: SCANSIONE - Premere, tenere premuto > 1 secondo, trascinare.

3: ATTIVAZIONE/DISATTIVAZIONE Tra modalità - Premere < 1 secondo.

Modalità mouse

Le seguenti funzioni della modalità mouse sono disponibili per i pulsanti indicati sopra:

1: PAN - Tenere premuto il modello CAD.

2: Mouse SINISTRA Pulsante - Utilizzato per le selezioni schermo.

1+ 2:BOX ZOOM - Premere e tenere premuto.

3: ATTIVAZIONE/DISATTIVAZIONE Tra modalità - Premere < 1 secondo.

3: ROTAZIONE - Tenere premuto il modello CAD.

Metodi facoltativi per passare dalla modalità mouse alla modalità misura, e viceversa.

Per passare alla modalità mouse: Tenere premuto il pulsante per prendere i punti e premere rapidamente il pulsante di completamento (entro 1 secondo).

Per passare alla modalità misura: Spostare il cursore sopra lo schermo e premere il pulsante centrale (pulsante sinistro del mouse).

Per passare da una modalità all'altra:

  1. Portare l'asse "F" sul limite, quindi

  2. Portare l'asse "E" su 90 gradi.