Interessati alle dimensioni GD&T XactMeasure? Se è così, vedere:
Finestra di dialogo Dimensione Simmetria
L'opzione di menu Inserisci | Dimensione | Simmetria consente di calcolare la simmetria di un insieme di punti o due linee opposte con un elemento di riferimento.
Se il primo elemento è un insieme, il secondo elemento inserito è l'elemento di riferimento e deve essere un piano o una linea.
Se il primo elemento è una linea, anche il secondo elemento deve essere una linea e il terzo elemento inserito è l'elemento di riferimento. In questo caso, il terzo elemento deve essere un piano o una linea. Questo tipo di dimensione viene considerato unilaterale e pertanto viene applicato soltanto un valore positivo della tolleranza.
Se il terzo elemento è un piano, l'algoritmo della simmetria tenta di trovare una linea su quel piano che rappresenti l'elemento di riferimento. Per trovare la linea corretta, interseca il piano scelto con il piano di lavoro. Per questo motivo occorre sincerarsi che il piano di lavoro usato sia quello corretto.
In base allo standard di tolleranza e dimensionamento geometrico, il seguente grafico illustra come viene interpretata e visualizzata una dimensione della simmetria.

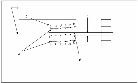
Dimensione Simmetria

Dimensione Simmetria - Interpretazione
1 - Piano centrale dell'elemento di riferimento A.
2 - Ordine di misurazione dei punti.
3 - Zona di tolleranza con ampiezza 0,8.
4 - Elementi opposti, con punti alternati.
5 - Punti medi derivati.
Spiegazione del grafico precedente
Entro i limiti della dimensione di RFS, tutti i punti mediani degli elementi opposti dell'asola devono trovarsi tra i due piani paralleli a distanza di 0,8, e i due piani sono equidisitanti intorno al piano dell'elemento di riferimento A. La tolleranza specificata e il valore di riferimento possono essere applicati soltanto su una base RFS.
A causa del modo in cui la simmetria viene definita, PC-DMIS limita gli elementi che è possibile utilizzare per la dimensione della simmetria. Poiché i punti devono essere disposti in modo uniforme intorno all'elemento di riferimento per trovare dei punti centrali tra di essi, è necessario selezionare un insieme di elementi con punti alternati o due linee opposte con lo stesso numero di punti.
Vedere anche:
Creazione della dimensione di un elemento mediante l'opzione SIMMETRIA