La tolleranza della forma Planarità controlla la forma di un elemento Piano senza controllarne orientamento e posizione. La superficie del piano considerato deve giacere entro una zona di tolleranza delimitata da due piani paralleli separati dal valore specificato per la tolleranza. Oltre alla planarità complessiva, si può specificare la planarità per unità di superficie. I modificatori della condizione del materiale e gli elementi di riferimento non sono ammessi.

(A) Se il disegno ha punti. (B) Significa questo. (C) Una zona di tolleranza di ampiezza 0,001.

Planarità di un piano per area unitaria
Mediante la casella di opzione Per unità è possibile specificare la tolleranza della planarità per unità di superficie. Questo crea un Feature Control Frame composito, in cui due diverse tolleranze condividono lo stesso simbolo di planarità. Il simbolo quadrato mostrato qui dopo la barra indica che l'unità di superficie è un quadrato:

Il numero che precede la barra determina la tolleranza. Il numero che segue il simbolo quadrato determina le dimensioni dell'unità di superficie. La planarità per unità di superficie affina la planarità complessiva, e per essa si deve scegliere un valore della tolleranza minore di quello della tolleranza totale.

(A) Se il disegno ha punti. (B) Significa questo. (C) Una zona di tolleranza di ampiezza 0,001. (D) Una zona di tolleranza di ampiezza 0,003 per una superficie unitaria di dimensioni 1x1. Ogni coppia di linee verdi rappresenta le singole superfici unitarie.
La planarità per unità di superficie è calcolata suddividendo i punti del piano in sottoinsiemi ognuno dei quali ricade all'interno di un quadrato di dimensioni specificate. La planarità di ogni sottoinsieme è determinata calcolando la distanza minima tra due piani paralleli che contengono tutti i punti misurati del sottoinsieme. I punti del piano devono essere abbastanza ravvicinati da far sì che ogni insieme contenga almeno quattro punti. Quindi, il software calcola la planarità di tutte le superfici unitarie, e usa il peggiore dei valori misurati. Il piano soddisfa la tolleranza della planarità per unità di superficie se il peggior valore misurato rientra nel valore della tolleranza per unità di superficie.

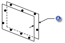
Elementi considerati: piano misurato, piano automatico e piano costruito.
Nel menu Inserisci | Dimensione o nella barra degli strumenti Dimensione, selezionare Planatità per visualizzare la finestra di dialogo GD&T XactMeasure.
Nel riquadro Elementi, selezionare almeno un elemento Piano contenente almeno quattro punti.
Nel riquadro Editor dei Feature Control Frame, definire il valore della tolleranza del Feature Control Frame (FCF).
Se si desidera affinare la tolleranza su base unitaria, selezionare la casella di opzione Per unità.
Se si seleziona Per unità, nella riga aggiunta al riquadro Editor dei Feature Control Frame, definire tolleranza e dimensioni dell'unità.
Fare clic su Crea per calcolare la dimensione della planarità.
Fare clic su Chiudi per chiudere la finestra di dialogo GDT XactMeasure.
Per vedere i risultati aprire la finestra di stato (Visualizza | Altre finestre | Finestra di stato) o la finestra Rapporto (Visualizza | Finestra Rapporto). Se l'elemento Piano non soddisfa la tolleranza della planarità, PC-DMIS colora il testo in rosso.

(A) Il valore misurato è la distanza minima tra due piani paralleli che contengono tutti i punti misurati della superficie del piano. Il piano soddisfa la tolleranza della planarità se il valore misurato rientra nel valore della tolleranza.
(A) Il valore misurato è la distanza minima tra due piani paralleli che contengono tutti i punti misurati della superficie del piano. Il piano soddisfa la tolleranza della planarità se il valore misurato rientra nel valore della tolleranza.
(B) Il valore misurato del segmento inferiore è la distanza minima per unità di superficie tra due piani paralleli. Si tratta della deviazione peggiore di tutte per unità di superficie.
Contattare il Documentation Team
Collegamenti alle risorse di supporto
PC-DMIS 2019 R1
Copyright © 2019 Hexagon Manufacturing Intelligence – Metrology Software, Inc.
Sistema della Guida generato il 20 dicembre 2018