세버튼 구성을 위한 두 모드는 아래에서 설명된다:
측정 모드

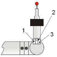
다음의 측정 모드 기능들은 위에서 나타낸 버튼들을 위해 사용될 수 있다:
1: DONE - 누르기 < 1 초 (1 초 이하로 누르기)
1: ERASE 마지막 접촉 - 누르기 > 1 초
1: OPEN DRO - 누르기 > 1 초 버퍼에 접촉이 없을때.
1: TOGGLE DRO - 누르기 > 1 초 DRO 가 이미 열렸을때. XYZ <-> XYZT. "T" 값이 보여진다.
2: HIT POINT - 누르기 < 1 초.
2: PULLED HIT - 누르고, 당기고, 1 초간 해제. "프로브 보정을 위한 수집된 접촉들 사용하기" 를 본다.
2: SCAN - 계속 누르고 있기 > 1 초, 끈다.
3: 모드 사이를 TOGGLE - 누르기 < 1 초.
마우스 모드

다음의 마우스 모드 기능들은 위에 나타낸 버튼들을 위해 사용될 수 있다:
1: PAN - CAD 모델을 계속 누른다.
2: 마우스 LEFT 버튼 - 화면 선택들을 위해 사용된다.
1+ 2:BOX ZOOM - 계속 누른다.
3: 모드 사이를 TOGGLE - 누르기 < 1 초.
3: ROTATE(회전) - CAD 모델을 계속 누른다.
마우스 모드와 측정 모드 사이를 전환하기 위한 옵션적인 방법들
마우스모드로 전환하기 위해: 접촉 수행 버튼을 계속 누르고 있는다 그런다음 완료 버튼을 신속하게 누른다(1초내로).
측정 모드로전환하기 위해: 화면의 상부로 커서를 이동하고 중간 버튼(왼쪽 마우스 버튼)을 누른다.
두 모드사이를 토글하기 위해:

경계선에 "F" 축을 회전한다, 그런다음
"E" 축을 90 도로 회전한다.