三按钮配置的两种模式会在下面讨论:
测量模式

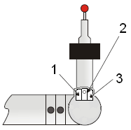
在上面指明的按钮中有如下的测量模式功能:
1: 完成 - 按下 < 1 秒
1: 清除 上一次测点 - 保持 > 1 秒
1: 打开DRO - 当缓存中没有触测时为保持 > 1秒。
1: 切换DRO - 当DRO已经打开XYZ时保持 > 1秒。XYZ <-> XYZT。将显示 "T" 值。
2: 触测点 - 按下 < 1 秒
2: 拉出测量点 - 按下、拖回、并在1秒内释放。 见“使用拉出测量点进行测头补偿”
2:扫描 - 按住 > 1 秒,拖动。
3:切换多个模式之间 - 按下 < 1 秒。
鼠标模式

在上面指明的按钮中有如下的鼠标模式功能:
1: PAN - 按下并保持CAD模式。
2: 鼠标 左键 - 用于屏幕选择。
1+ 2:选框缩放 - 按下并保持。
3:切换多个模式之间 - 按下 < 1 秒。
3: 旋转 - 按下并保持CAD模式。
鼠标模式和测量模式之间切换的可选方法。
切换到鼠标模式:按下并保持取测点按钮,然后快速点击完成按钮(在第1秒内完成)。
切换 到 测量模式: 将光标移动到屏幕顶部并按下鼠标中键(左鼠标键)。
在两种模式间切换:

将"F"轴旋转到极限,然后
将"E"轴旋转90度。