“评价对称度”对话框
插入---尺寸---对称度菜单选项用于计算一个点特征组与基准特征的对称度,或两条反向直线与基准特征的对称度。
如果第一个特征是特征组,输入的第二个特征则为基准特征,基准必须是平面或直线。
如果第一个特征是直线,第二个特征必须也是直线,输入的第三个特征为基准特征。此时,第三个特征必须是平面或直线。此尺寸类型可以看作是单边的,即只应用一个正公差值。
如果第三个特征是平面,对称度算法尝试在这个面上找到一条线作为基准。要找到正确的线,此线在工作平面上与选定的面相交(或交叉)。出于这个原因,您应确保您使用的是正确的工作平面。
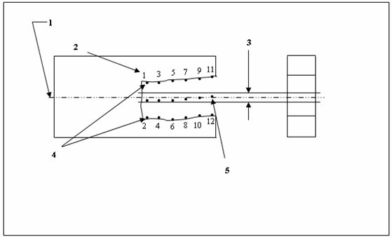
根据几何标注和公差标准,以下图形表示如何解释并显示对称度尺寸。

对称度尺寸

对称度尺寸 - 解释
1 - 基准特征 A 的中心平面。
2 - 点测量顺序。
3 - 0.8 宽公差区域。
4 - 具有交替点的相对元素。
5 - 衍生中间点。
早前的图形说明
大小必须要在规定范围之内,所有的中间点必须要位于宽度为0.8的槽的两平行平面之间,两平行平面与基准A需对称匹配。指定的公差和基准参考仅可以应用到独立原则上。
因为对称度的定义方式,PC-DMIS 将限制对称度尺寸可以使用的特征。因为各点必须在基准周围均匀排列,才能查找各点之间的中点,所以,必须选择包含交替点的特征组或点数相同的两条反向直线。
更多信息: