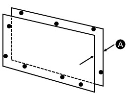
The Flatness form tolerance controls
the shape of a planar feature without controlling the orientation or location.
The surface of the considered plane must lie within a tolerance zone bounded
by two parallel planes, which are separated by a distance equal to the
specified tolerance value. In addition to overall flatness, you can also
specify flatness on a unit area basis. Material condition modifiers and
datum features are not allowed.

(A) If your drawing has this. (B) It means this. (C) A .010 wide tolerance zone.