Weight Compensation - Simplified Mode

Use the Simplified mode for the WeightComp command for weights that are uniformly distributed on the support points.

To use this mode, do the following:

  1. In the Mode list, click Simplified to open the WeightComp dialog box.

WeightComp dialog box - Simplified mode

WeightComp dialog box - Simplified mode

  1. Complete the items in the dialog box.

Item

Description

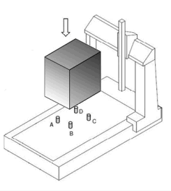
Number of Supports area

From the list, select the number of support points on which the workpiece is loaded:

  • 3 points

  • 4 points - The graphic changes to the following:

Point A [units] area

Point B [units] area

Point C [units] area

Point D [units] area (available only when Number of Supports is 4 points)

([units] reflects the current units set up for PC-DMIS: mm or in)

X and Y boxes – Enter the X and Y coordinates of the support points.

If an X or Y box is blank, an error symbol Error symbol appears to the right of the box when you click OK. It indicates that a positive double value is expected. Enter the missing value.

Readout button

To automatically enter the current position in the X and Y boxes, position the CMM and then click this button.

Total Weight [units] area

([units] reflects the current units set up for PC-DMIS: kg or lbs)

Select the total weight of the workpiece. The range in the list starts at the minimum relevant weight for the weight compensation and ends at the maximum compensated weight.

  1. Click OK.

Here is an example of the Edit window for the Simplified mode:

Edit window for Simplified mode

Example of Edit window for Simplified mode