¿Busca dimensiones de FCF GD&T? Si es así, consulte:
Cuadro de diálogo Dimensión de simetría
La opción de menú Insertar | Dimensión | Simetría permite calcular la simetría de un conjunto de puntos con un elemento de dátum, o dos líneas opuestas con un elemento de dátum.
Si el primer elemento es un conjunto, el segundo que se introduce es el elemento del dátum y debe ser un plano o una línea.
Si el primer elemento es una línea, el segundo también debe ser una línea, y el tercero que se introduce es el elemento del dátum. En este caso, el tercer elemento debe ser un plano o una línea. Este tipo de dimensión se considera de un solo signo, debido a que se asigna un solo valor de tolerancia positivo.
Si el tercer elemento es un plano, el algoritmo de simetría intenta encontrar una línea en ese plano que represente el dátum. Para localizar la línea correcta, crea una intersección (cruza) en el plano elegido con el plano de trabajo. Por este motivo, debe asegurarse de que está utilizando el plano de trabajo correcto.
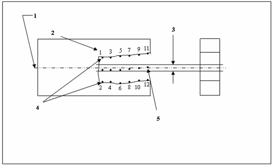
Según la norma de dimensionamiento geométrico y tolerancia, el siguiente gráfico indica cómo se interpreta y presenta la dimensión de una simetría.

Dimensión de simetría

Dimensión de simetría - Interpretación
1: Plano central del elemento de dátum A.
2: Orden de las mediciones de punto.
3: Zona de tolerancia de 0,8 de anchura.
4: Elementos opuestos, con puntos alternantes.
5: Puntos de la mediana derivada.
Explicación del gráfico anterior
Dentro de los límites de tamaño e RFS, todos los puntos de mediana de los elementos opuestos de la ranura deben encontrarse entre dos planos paralelos separados 0.8, y estando los dos planos igualmente dispuestos alrededor del plano de dátum A. La tolerancia especificada y la referencia de dátum pueden aplicarse únicamente sobre la base de RFS.
Debido a la forma en que se define una simetría, PC-DMIS limita los elementos que pueden utilizarse para la dimensión de una simetría. Dado que los puntos deben ser equidistantes en relación con el dátum a fin de encontrar puntos intermedios entre ellos, debe seleccionar un conjunto de elementos con puntos alternantes, o bien dos líneas opuestas con el mismo número de puntos.
Más: