Los dos modos para una configuración de tres botones se tratan a continuación:
Modo medición

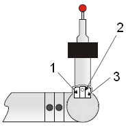
Las siguientes funciones en el modo de medición están disponibles para los botones anteriormente indicados:
1: TERMINADO: Para completar las mediciones, pulse este botón durante menos de 1 segundo.
1: BORRAR: Para borrar el último contacto, pulse este botón y manténgalo pulsado más de 1 segundo.
1: ABRIR VISOR DIGITAL: Si no hay ningún contacto en el búfer, pulse este botón y manténgalo pulsado durante más de un segundo.
1: ALTERNAR VISOR DIGITAL: Con la ventana de coordenadas (visor digital) abierto, pulse el botón 1 durante menos de 1 segundo. PC-DMIS muestra el valor T con los valores XYZ en el visor digital: XYZT.
2: PUNTO DE CONTACTO: Para tomar un contacto, pulse este botón durante menos de 1 segundo.
2: CONTACTO CON INDICACIÓN DE VECTOR: Para tomar un contacto con indicación de vector, pulse este botón, retire el brazo y suelte el botón al cabo de 1 segundo. Para obtener información detallada sobre cómo tomar un contacto con indicación de vector, consulte "Usar contactos con indicación de vector para compensación de sonda".
2: ESCANEAR: Para escanear la pieza, pulse este botón y manténgalo pulsado más de 1 segundo. Con el botón pulsado, arrastre la sonda por encima de la pieza para comenzar el escaneado.
3: ALTERNAR: Para pasar de un modo a otro, pulse este botón durante menos de 1 segundo.
Modo Ratón

Las siguientes funciones en el modo Ratón están disponibles para los botones anteriormente indicados:
1: DESPLAZAMIENTO: Pulsar y mantener pulsado para desplazar el modelo de CAD.
2: Botón IZQUIERDO del ratón - Se utiliza para selecciones en pantalla.
1+ 2: ZOOM DE CUADRO: pulsar y mantener pulsado.
3: ALTERNAR entre modos: Pulsar menos de 1 segundo.
3: ROTACIÓN: Pulsar y mantener pulsado para que el modelo de CAD rote.
Métodos opcionales para pasar del modo Ratón al modo Medición y viceversa
Para conmutar al modo Ratón: Pulse y mantenga pulsado el botón Tomar contacto y después pulse rápidamente el botón Terminado (antes de un segundo).
Para conmutar al modo Medición: Desplace el cursor a la parte superior de la pantalla y pulse el botón central (botón izquierdo del ratón).
Para alternar entre uno y otro modo:

Gire el eje "F" hasta el límite, y luego
gire el eje "E" 90 grados.