세버튼 구성을 위한 두 모드는 아래에서 설명된다:
측정 모드

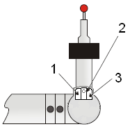
다음의 측정 모드 기능들은 위에서 나타낸 버튼들을 위해 사용될 수 있다:
1: 완료 - 측정을 완료하기위해, 이 버튼을 1 초 미만 동안 누른다.
1: 지우기 - 마지막 접촉을 지우기위해, 이 버튼을 1 초 이상 누르고 있는다.
1: DRO(판독창) 열기 - 버퍼에 접촉이 없으면, 이 버튼을 1 초 이상 누르고 있는다.
1: DRO(판독창) 토글 - 판독 창 (DRO)이 이미 열린 상태에서, 버튼 1을 1 초 미만 동안 누른다. PC-DMIS는 DRO에서 XYZ 값과 함께 T 값을 보여준다: XYZT
2: 지점 접촉 - 접촉을 수행하기위해, 이 버튼을 1 초 미만 동안 누른다.
2: 당김 접촉 - 당김 접촉을 수행하기위해, 이 버튼을 누르고 프로브를 뒤로 당긴 다음 1 초 내에 버튼을 푼다. 당김 접촉의 수행 방법에 대한 상세 정보는, "프로브 보정을 위해 당김 접촉 사용" 을 참조한다.
2: 스캔 - 부품을 스캔하기위해, 이 버튼을 1 초 이상 누르고 있는다. 버튼을 누른 상태에서, 스캔을 시작하기위해 프로브를 부품 위로 끈다.
3: 토글 - 모드 간을 전환하기위해, 이 버튼을 1 초 미만 동안 누른다.
마우스 모드

다음의 마우스 모드 기능들은 위에 나타낸 버튼들을 위해 사용될 수 있다:
1: 파노라마 - CAD 모델을 이동하기위해 누르고 있는다.
2: 마우스 LEFT 버튼 - 화면 선택들을 위해 사용된다.
1+ 2:BOX ZOOM - 계속 누른다.
3: 토글 모드 간 - 1 초 미만 동안 누른다.
3: 회전 - CAD 모델을 회전하기위해 누르고 있는다.
마우스 모드와 측정 모드 사이를 전환하기 위한 옵션적인 방법들
마우스 모드로 전환하기 위해: 접촉 수행 버튼을 누르고 있는다 그런다음 완료 버튼을 신속하게 누른다(1초내로).
측정 모드로전환하기 위해: 화면의 상부로 커서를 이동하고 중간 버튼(왼쪽 마우스 버튼)을 누른다.
두 모드사이를 토글하기 위해:

경계선에 "F" 축을 회전한다, 그런다음
"E" 축을 90 도로 회전한다.