FCF GD&T 측정을 찾으십니까? 그렇다면, 다음을 참조한다:
측정 대칭 대화상자
삽입 | 측정 | 대칭 메뉴 옵션은 데이타 특성과 함께 지점 세트의 대칭, 또는 데이타 특성과 함께 두 반대의 선의 대칭을 계산한다.
첫 특성이 세트이면, 입력된 두번째 특성은 데이타 특성이고 반드시 평면 또는 선이 되야 한다.
첫 특성이 선이면, 두번째 특성은 반드시 또한 선이 되야 하고 입력된 세번째 특성은 데이타 특성이 되야 한다. 이런 경우에 세번째 특성은 반드시 평면 또는 선이 되야 한다. 이 측정 유형은 한면으로된것으로 고려되고, 단독 플러스 값 공차가 적용된다는 것을 뜻한다.
세번째 특성이 평면이면, 대칭 알고리즘은 데이타를 나타내는 그 평면에서 선을 찾으려 한다. 올바른 선을 찾기 위해, 그것은 선택된 평면을 작업면과 교차한다. 이런 이유로 올바른 작업면을 사용하고 있는지를 확인해야 한다.
도형 측정과 공차의 표준에 따라, 다음의 그래픽은 대칭 측정이 어떻게 보여지고 해석되는지를 나타낸다.

대칭 측정

대칭 측정 - 분석
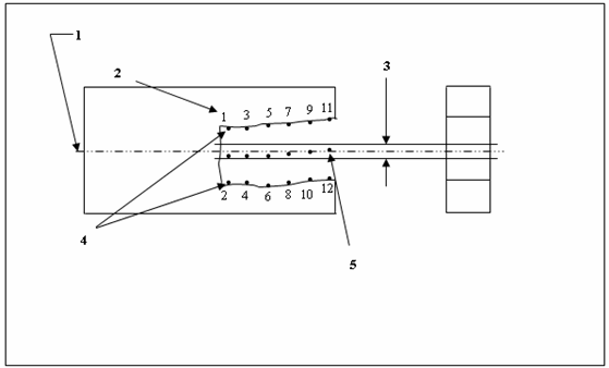
1 - 데이타 특성 A 의 중앙 평면.
2 - 지점 측정의 순서.
3 - 0.8 넓은 공차 영역.
4 - 교체 지점과 함께, 반대된 요소.
5 - 계산된 중간 지점
이전 그래픽의 설명
크기와 RFS의 한계내에서, 슬롯의 반대쪽 요소의 모든 중앙 지점은 반드시 0.8 만큼 떨어진 두개의 평행 평면 사이에 있어야 하고, 두 평면은 데이타 평면 A 주위에서 동일하게 위치하고 있다. 명시된 공차와 데이타 참조는 RFS 으로만 적용할 수 있다.
대칭이 정의되는 방법 때문에, PC-DMIS 는 대칭 측정을 위해 사용될 수 있는 특성을 제한한다. 지점 사이에서 중간 지점을 찾기 위해 지점은 반드시 데이타 주위에서 동일하게 위치해야하기 때문에, 사용자는 윤번의 지점을 가진 특성 세트나 또는 동일수의 지점을 가진 두개의 마주보는 선을 반드시 선택해야 한다.
더 많은: