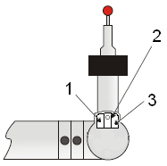
De två lägena för konfiguration med 3 knappar förklaras nedan:
Mätläge

Följande funktioner i mätläget är tillgängliga för knapparna som anges ovan:
1: DONE - Tryck på den här knappen i mindre än en sekund för att slutföra dina mätningar.
1: ERASE - Ta bort den senaste mätpunkten genom att hålla den här knappen intryckt i mer än en sekund.
1: OPEN DRO - Håll den här knappen intryckt i mer än en sekund om det inte finns någon mätpunkt i bufferten.
1: TOGGLE DRO - Håll knapp 1 intryckt mindre än en sekund när Koordinatvisningsfönstret är öppet. PC-DMIS visar T-värdet tillsammans med XYZ-värdena i Koordinatvisningsfönstret: XYZT
2: HIT POINT - Tryck på den här knappen i mindre än en sekund för att ta en mätpunkt.
2: PULLED HIT - Tryck på den här knappen, dra tillbaka mäthuvudet och släpp knappen inom en sekund för att ta en läst mätpunkt. Information om hur man tar en läst mätpunkt finns i "Använda lästa mätpunkter för mätspetskompensering".
2: SCAN - Håll den här knappen intryckt i mer än en sekund för att scanna detaljen. Håll knappen intryckt och dra mäthuvudet över detaljen för att starta scanningen.
3: TOGGLE - Tryck på den här knappen i mindre än en sekund för att växla mellan lägena.
Musläge

Följande funktioner i musläget är tillgängliga för knapparna som anges ovan:
1: PAN - Håll intryckt för att panorera CAD-modellen.
2: VÄNSTER musknapp – Används för att göra val på skärmen.
1+ 2:ZOOMA I RUTA - Klicka och håll ned musknappen.
3: TOGGLE Mellan lägen – Tryck i mindre än 1 sekund.
3: ROTATE - Håll intryckt för att rotera CAD-modellen.
Alternativa metoder för att växla mellan musläge och mätläge
Växla musläge: Håll knappen Take Hit intryckt och tryck därefter snabbt på knappen Done (inom en sekund).
Så här växlar du till mätläge: Ställ markören högst upp på skärmen och tryck på mittenknappen (vänsterklicka).
Så här växlar du från alla lägen:

Vrid "F"-axeln till gränsen och
Vrid "E"-axeln 90 grader.