Suchen Sie nach Befehlen für geometrische Toleranzen? Wenn ja, siehe:
Dialogfeld 'Merkmal SYMMETRIE'
Mit der Menüoption Einfügen | Merkmal | Symmetrie wird die Symmetrie eines Punktesatzes mit einem Bezugselement oder von zwei gegenüberliegenden Geraden mit einem Bezugselement berechnet.
Handelt es sich beim ersten Element um eine Gruppe, ist das zweite eingegebene Element das Bezugselement und muss entweder eine Ebene oder eine Gerade sein.
Handelt es sich beim ersten Element um eine Gerade, muss das zweite Element ebenfalls eine Gerade sein. Das dritte eingegebene Element ist das Bezugselement und muss in diesem Fall eine Ebene oder eine Gerade sein. Dieser Merkmalstyp gilt als einseitig, d.h., es gilt ein einziger positiver Toleranzwert.
Handelt es sich beim dritten Element um eine Ebene, versucht der Symmetrie-Algorithmus eine Gerade auf der Ebene zu finden, die das Bezugselement darstellt. Die Arbeitsebene wird durch die ausgewählte Ebene geschnitten (oder gekreuzt), um die korrekte Gerade zu finden. Aus diesem Grund sollten Sie sicherstellen, dass die richtige Arbeitsebene verwendet wird.
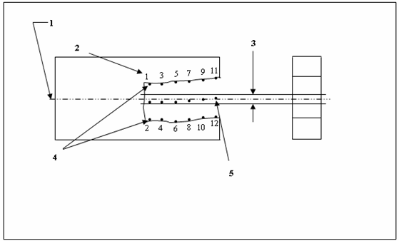
In Übereinstimmung mit der geometrischen Bemaßung und Toleranzfestlegung wird in der folgenden Grafik dargestellt, wie ein Symmetriemerkmal interpretiert und angezeigt wird.

Merkmal SYMMETRIE

Merkmal SYMMETRIE - Interpretation
1 - Die Ebenenmitte von Bezugselement A.
2 - Reihenfolge der Punktmessungen.
3 - Toleranzbereich von 0.8.
4 - Gegenüberliegende Elemente mit sich abwechselnden Punkten.
5 - Abgeleitete Mittelpunkte.
Erklärung der vorangegangenen Grafik
Unter Berücksichtigung der Größenangaben und RFS müssen alle Mittelpunkte der gegenüberliegenden Elemente des Rechtecklochs zwischen zwei parallelen Ebenen mit einem Abstand von 0,8 voneinander entfernt liegen, wobei die zwei Ebenen den gleichen Abstand zur Bezugsebene A aufweisen. Die angegebene Toleranz und das Bezugselement dürfen nur auf RFS-Basis angewandt werden.
Aufgrund der Art und Weise, wie Symmetrien definiert werden, begrenzt PC-DMIS die Anzahl der Elemente, die für ein Symmetriemerkmal verwendet werden können. Da die Punkte auf dem Bezugselement gleichmäßig angeordnet sein müssen, so dass zwischen ihnen Mittelpunkte gefunden werden können, müssen Sie entweder eine Elementgruppe mit wechselnden Punkten oder zwei gegenüberliegende Geraden mit derselben Anzahl an Punkten auswählen.
Mehr:
So bestimmen Sie das Merkmal eines Elements mit der Option SYMMETRIE: