Im Folgenden werden die zwei Modi für eine 3-Tasten-Konfiguration beschrieben:
Messmodus

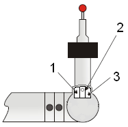
Die folgenden Messmodus-Funktionen sind für die oben dargestellten Tasten verfügbar:
1: FERTIG - Um Ihre Messungen abzuschließen, halten Sie diese Taste weniger als eine Sekunde gedrückt.
1: LÖSCHEN - Um den letzten Messpunkt zu löschen, halten Sie diese Taste länger als eine Sekunde gedrückt.
1: DIGITALE ERGEBNISANZEIGE ÖFFNEN - Wenn sich kein Messpunkt im Puffer befindet, halten Sie diese Taste länger als eine Sekunde gedrückt.
1: DIGITALE ERGEBNISANZEIGE UMSCHALTEN - Wenn die digitale Ergebnisanzeige bereits geöffnet ist, halten Sie die Taste 1 für weniger als eine Sekunde. PC-DMIS zeigt den T-Wert mit den XYZ-Werten in der digitalen Ergebnisanzeige an: XYZT
2: MESSPUNKT - Um einen Messpunkt aufzunehmen, halten Sie die Taste für weniger als eine Sekunde gedrückt.
2: GEZOGENER MESSPUNKT - Um einen gezogenen Messpunkt aufzunehmen, drücken Sie diese Taste, ziehen Sie den Taster zurück und lassen Sie die Taste innerhalb einer Sekunde los. Weitere Informationen zu gezogenen Messpunkten finden Sie unter "Verwenden von gezogenen Messpunkten zur Tasterkompensation".
2: SCAN - Um Ihr Werkstück zu scannen, halten Sie diese Taste länger als eine Sekunde gedrückt. Während Sie die Taste gedrückt halten, ziehen Sie den Taster über Ihr Werkstück, um den Scanvorgang zu starten.
3: UMSCHALTEN - Um zwischen den Modi umzuschalten, halten Sie diese Taste weniger als eine Sekunde gedrückt.
Maus-Modus

Die folgenden Mausmodus-Funktionen sind für die oben dargestellten Tasten verfügbar:
1: SCHWENKEN - Halten Sie diese Taste gedrückt, um das CAD-Modell zu verschieben.
2: LINKE Maustaste: Für die Bildschirmauswahl verwendet.
1+2:FELDZOOM - Drücken und halten.
3: UMSCHALTEN Zwischen den Modi - Für weniger als 1 Sekunde gedrückt halten.
3: DREHEN - Halten Sie diese Taste gedrückt, um das CAD-Modell zu drehen.
Optionale Methoden zum Umschalten zwischen Maus- und Messmodus
Zum Wechseln in den Mausmodus: Drücken und halten Sie die Taste "Messpunkt aufnehmen" und drücken Sie dann schnell die Taste "Fertig" (innerhalb der ersten Sekunde).
Zum Wechseln in den Messmodus: Bewegen Sie den Mauszeiger an den oberen Rand des Bildschirms und drücken Sie die mittlere Taste (linke Maustaste).
Zum Umschalten zwischen beiden Modi:

Drehen Sie die "F"-Achse bis zum Ende, drehen Sie anschließend
die "E"-Achse um 90 °.