À la recherche de commandes de tolérance géométrique ? Si tel est le cas, voir :
Boîte de dialogue Symétrie des dimensions
L'option de menu Insérer | Dimension | Symétrie calcule la symétrie d'une série de points avec un élément de référence, ou deux droites opposées avec un élément de référence.
Si le premier élément est une série, le second élément entré est l'élément de référence qui doit être un plan ou une droite.
Si le premier élément est une droite, le second doit également être une droite et le troisième élément entré est l'élément de référence. Dans ce cas, le troisième élément doit être un plan ou une droite. Ce type de dimension est considéré unilatéral, c'est-à-dire qu'une seule tolérance de valeur positive lui est appliquée.
Si le troisième élément est un plan, l'algorithme de symétrie tente de trouver une droite sur celui-ci correspondant à la référence. Pour trouver la droite correcte, il coupe (ou traverse) le plan choisi avec le plan de travail. C'est pourquoi vous devez vérifier que vous utilisez le plan de travail correct.
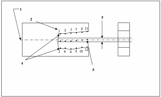
Conformément à la cotation géométrique et à la norme en matière de tolérance, le graphique suivant indique la façon dont une dimension de symétrie est interprétée et affichée.

Dimension de symétrie

Dimension de symétrie - Interprétation
1 - Plan central de l'élément de référence A.
2 - Ordre de mesure des points.
3 - Zone de tolérance large de 0,8.
4 - Éléments opposés avec des points en alternance.
5 - Points médians dérivés.
Explication du graphique précédent
Dans les limites de taille et RFS, tous les points médians des éléments opposés de l'orifice doivent se trouver entre deux plans parallèles à 0,8 de distance, ces deux plans étant à équidistance du plan de référence A. La tolérance indiquée et la référence peuvent uniquement s'appliquer sur une base RFS.
En raison du mode de définition de la symétrie, PC-DMIS limite les éléments pouvant être utilisés pour la dimension de symétrie. Puisque les points doivent être équidistants par rapport à la référence afin d'obtenir des points intermédiaires à partir de ceux-ci, vous devez sélectionner une série d'éléments dotée de points alternés ou deux droites opposées dotées du même nombre de points.
Rubriques associées :