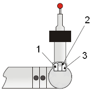
Les deux modes de configuration de trois boutons sont présentés ci-dessous :
Mode de mesure

Les options de mode de mesure suivantes sont disponibles pour les boutons indiqués ci-dessus :
1 : DONE - Pour terminer vos mesures, appuyez sur ce bouton moins d'une seconde.
1 : ERASE - Pour effacer le dernier palpage, appuyez sur ce bouton pendant plus d'une seconde.
1 : OPEN DRO - Si la mémoire tampon ne contient aucun palpage, appuyez sur ce bouton pendant plus d'une seconde.
1 : TOGGLE DRO - Avec la fenêtre de résultats ouverte, appuyez sur le bouton 1 pendant moins d'une seconde. PC-DMIS montre la valeur T avec les valeurs XYZ dans l'affichage numérique : XYZT
2: HIT POINT - Pour prendre un palpage, appuyez sur ce bouton pendant moins d'une seconde.
2 : PULLED HIT - Pour prendre un palpage tiré, appuyez sur ce bouton, tirez le palpeur et relâchez le bouton au bout d'une seconde. Pour des détails sur la façon de prendre un palpage tiré, voir « Utilisation de palpages tirés pour compensation du palpeur ».
2 : SCANNING - Pour scanner votre pièce, appuyez sur ce bouton pendant plus d'une seconde. Avec le bouton enfoncé, faites glisser votre palpeur sur la pièce afin de lancer le scanning.
3 : TOGGLE - Pour basculer entre des modes, appuyez sur ce bouton pendant moins d'une seconde.
Mode Souris

Les options de mode Souris suivantes sont disponibles pour les boutons indiqués ci-dessus :
1 : PAN - Maintenez enfoncé pour faire un panoramique du modèle CAO.
2 : Bouton GAUCHE de la souris - Utilisé pour les sélections d'écran.
1 + 2 : ZOOM - Maintenez enfoncé.
3 : TOGGLE Pour basculer entre modes, appuyez moins d'une seconde.
3 : ROTATE - Maintenez enfoncé pour faire pivoter le modèle CAO.
Méthodes facultatives pour passer du mode Souris au mode Mesure
Pour passer en mode souris : maintenez enfoncé le bouton Prendre palpage et appuyez rapidement sur le bouton Terminé (au cours de la première seconde).
Pour passer en Mode mesure : Placez le curseur en haut de l'écran et appuyez sur le bouton du milieu (bouton gauche de la souris).
Pour basculer d'un mode à l'autre :

Tournez l' axe « F » à la limite, puis
Tournez l'axe « E » de 90 degrés.