Üç düğmeli yapılandırma için iki mod aşağıda anlatılmaktadır:
Ölçme Modu

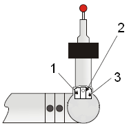
Aşağıdaki Ölçme Modu işlevleri yukarıda gösterilen düğmeler için kullanılabilir:
1: BİTTİ - Ölçümlerinizi tamamlamak için bu düğmeye bir saniyeden kısa bir süre basın.
1: SİL - Son vuruşu silmek için, bu düğmeyi bir saniyeden uzun bir süre basılı tutun.
1: DRO'YU AÇ - Arabellekte hiç vuruş yoksa, bu düğmeyi bir saniyeden uzun bir süre basılı tutun.
1: DRO'YU DEĞİŞTİR - Okumalar penceresi (DRO) açık durumdayken, 1 düğmesine bir saniyeden kısa bir süre basın. PC-DMIS T değerini DRO'da XYZ değerleriyle gösterir: XYZT
2: VURUŞ NOKTASI - Vuruş almak için, bu düğmeye bir saniyeden kısa bir süre basın.
2: ÇEKİLEN VURUŞ - Bir Çekilen Vuruş almak için, bu düğmeye basın, probu geri çekin ve sonra bir saniye içinde düğmeyi serbest bırakın. Çekilen Vuruş alma hakkında ayrıntılı bilgi için bkz. "Prob Telafisi İçin Çekilen Vuruşları Kullanma".
2: TARA - Parçanızı taramak için, bu düğmeyi bir saniyeden uzun bir süre basılı tutun. Düğmeyi basılı tutarken, taramayı başlatmak için probu parçanızın üzerine sürükleyin.
3: EĞİŞTİR - Modlar arasında geçiş yapmak için, bu düğmeye bir saniyeden kısa bir süre basın.
Fare Modu

Aşağıdaki Fare Modu işlevleri yukarıda gösterilen düğmeler için kullanılabilir:
1: KAYDIR - CAD modelini kaydırmak için basılı tutun.
2: SOL Fare Düğmesi - Ekran seçimleri için kullanılır.
1+ 2: KUTU YAKINLAŞTIRMA - Basılı tutun.
3: GEÇİŞ Modlar Arasında - 1 saniyeden kısa bir süre basın.
3: DÖNDÜR - CAD modelini döndürmek için basılı tutun.
Fare Modu ve Ölçme Modu arasında geçiş yapmak için İsteğe Bağlı Yöntemler
Fare Moduna geçmek için: Vuruş Al düğmesini basılı tutun ve sonra hızlı bir şekilde (ilk bir saniyede) Bitti düğmesine basın.
Ölçme Moduna geçmek için: İmleci ekranın üst kısmına taşıyın ve orta düğmeye basın (sol fare düğmesi).
Her iki moddan geçiş yapmak için:

"F" eksenini sınıra döndürün,
"E" eksenini 90 derece döndürün.