3つのボタン配置のための2つのモードを下記に記載します。
測定モード

下記の測定モード機能は、上述したボタンに利用できます:
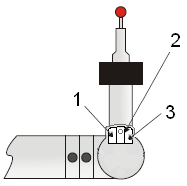
1: 完了 - 測定の実行を完了するには、1秒未満の間、このボタンを押します。
1: 消去 - 最後の取込み点を消去するには、1秒以上の間、このボタンを長押しします。
1: DROを開く - バッファに取込み点がない場合、1秒以上の間、このボタンを長押しします。
1: DROのトグル (切り替え) - 読み出しウィンドウ (DRO) が開いている状態で、1秒未満の間、ボタン1を押します。PC-DMISがDRO:XYZTにT値とXYZ値を表示します。
2: 取込み点ポイント - 取込み点を取得するには、1秒未満の間、このボタンを押します。
2: プルされる取込み点 - プルされる取込み点を取得するには、このボタンを押し、プローブを引き戻してから1秒以内でボタンを離します。プルされる取込み点を取得する方法について詳しくは、「プローブ補正のためにプルされる取込み点を使用」を参照してください。
2: スキャン - パートをスキャンするには、1秒以上の間、このボタンを長押しします。ボタンを押した状態で、プローブをパートの上にドラッグしてスキャンを開始します。
3: トグル (切り替え) - モードを切り替えるには、1秒未満の間、このボタンを押します。
マウスモード

下記のマウスモード機能は、上述したボタンに利用できます:
1: PAN (パン) - 長押ししてCAD モデルをパンします。
2: マウスの LEFTボタン - スクリーンの選択に使用されます。
1+ 2: BOX ZOOM - 押して保持します。
3: TOGGLE (切り替え) モード間 - 1秒未満の間、押します。
3: ROTATE (回転) - 長押ししてCAD モデルを回転します。
マウスモードと測定モードを切り替えるためのオプションのメソッド
マウスモードに切り替える:[取込み点を取得] ボタンを押しながら、すぐに (最初の1秒以内に) [完了] ボタンを押します。
測定モード:に切り替え測定に切り替わるように: カーソルをスクリーンの上部に動かし、そして、真ん中のボタン(マウス左ボタン)を押してください。
いずれのモードから切り替える:

"F" 軸を限界まで回し、そして
"E" を90度回転させます。