三按钮配置的两种模式会在下面讨论:
测量模式

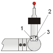
在上面指明的按钮中有如下的测量模式功能:
1: 完成 - 要完成测量,请按住此按钮并保持不到一秒钟。
1: 擦除 - 要擦除最后一个测点,请按住此按钮一秒以上。
1: 打开 DRO - 如果缓冲区中没有测点,请按住此按钮一秒钟以上。
1: 切换 DRO - 在“读数”窗口 (DRO) 已打开的情况下,按按钮 1 并保持不到一秒钟。PC-DMIS 在 DRO 中显示 T 值和 XYZ 值:XYZT
2: 测点 - 要采集测点,请按住此按钮并保持不到一秒。
2: 拉出测点 - 要采集拉出测点,请按此按钮,向后拉测头,然后在一秒钟内释放按钮。有关如何采集拉出测点的详细信息,请参见“使用拉出测点进行测头补偿”。
2: 扫描 - 要扫描零件,请按住此按钮一秒钟以上。按住按钮时,将测头拖到零件上以开始扫描。
3: 切换 - 要在两种模式之间切换,请按住此按钮并保持不到一秒钟。
鼠标模式

在上面指明的按钮中有如下的鼠标模式功能:
1: PAN - 按住以平移 CAD 模型。
2: 鼠标 左键 - 用于屏幕选择。
1+ 2:选框缩放 - 按下并保持。
3: 切换多个模式之间 - 按下不到 1 秒钟。
3: 旋转 - 按住以旋转 CAD 模式。
鼠标模式和测量模式之间切换的可选方法。
切换到鼠标模式:按住采点按钮,然后快速按下完成按钮(在第 1 秒内完成)。
切换 到 测量模式: 将光标移动到屏幕顶部并按下鼠标中键(左鼠标键)。
在两种模式间切换:

将"F"轴旋转到极限,然后
将"E"轴旋转90度。