Le due modalità per la configurazione a tre pulsanti sono analizzate di seguito.
Modalità di misura

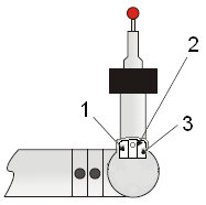
Le seguenti funzioni della modalità misura sono disponibili per i pulsanti indicati sopra:
1: FATTO - Per terminare le misure, premere questo pulsante per meno di un secondo.
1: CANCELLA - Per cancellare l'ultimo punto, premere questo pulsante e tenerlo premuto per più di un secondo.
1: APRI DRO - Se non ci sono punti nel buffer premere questo pulsante e tenerlo premuto per più di un secondo.
1: ATTIVA DRO - Con la finestra delle letture digitali (DRO) già aperta, premere il pulsante 1 per meno di un secondo. PC-DMIS mostra il valore di T con i valori XYZ nella DRO: XYZT
2: PRENDI PUNTO - Per prendere un punto, premere questo pulsante per meno di un secondo.
2: PUNTO FORZATO - Per acquisire un punto forzato premere questo pulsante, tirare indietro il tastatore, e rilasciare il pulsante entro un secondo. Per i dettagli su come acquisire un punto forzato, vedere "Uso di punti forzati per la compensazione del tastatore".
2: SCANSIONE - Per eseguire la scansione del pezzo premere questo pulsante e tenerlo premuto per più di un secondo. Tenendo premuto il pulsante, trascinare il tastatore sul pezzo per iniziare la scansione.
3: ALTERNA - Per passare da una modalità all'altra premere questo pulsante per meno di un secondo.
Modalità Mouse

Le seguenti funzioni della modalità mouse sono disponibili per i pulsanti indicati sopra:
1: PANORAMICA - Premere e tenere premuto per eseguire una panoramica del modello CAD.
2: Mouse SINISTRA Pulsante - Utilizzato per le selezioni schermo.
1+ 2: CASELLA DI ZOOM - Premere e tenere premuto.
3: ALTERNA Tra le modalità - Premere per meno di1 secondo.
3: RUOTA - Premere e tenere premuto per ruotare il modello CAD.
Metodi facoltativi per passare dalla modalità mouse alla modalità misura, e viceversa.
Per passare alla modalità mouse: premere e tenere premuto il pulsante di acquisizione dei punti e premere rapidamente il pulsante FATTO (entro 1 secondo).
Per passare alla modalità misura: Spostare il cursore sopra lo schermo e premere il pulsante centrale (pulsante sinistro del mouse).
Per passare da una modalità all'altra:

Portare l'asse "F" sul limite, quindi
Portare l'asse "E" su 90 gradi.